开合旋转结构


1.本实用新型涉及旋转开合装置技术领域,具体为一种旋转开合机构。


背景技术:

2.旋转开合方式是一种常见的开合方式,其广泛应用在各种机械结构上。而现有的旋转开合机构或装置采用的旋转机构对开合板只实现单开合功能,或仅仅实现双开合功能,开合板一般为固定结构,因此不能在同一装置上实现单开合或双开合状态。


技术实现要素:


3.本实用新型的目的在于提供一种旋转开合机构,以解决上述背景技术中提出的问题。
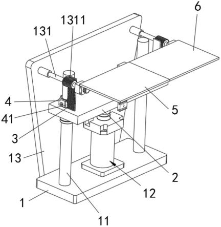
4.为了解决上述技术问题,本实用新型提供如下技术方案:一种旋转开合机构,包括底座和滑板,所述滑板位于底座正上方、且滑板上嵌入有两个滑套;
5.两滑套内部分别穿设有一根与其适配的滑杆,两根滑杆的底端分别固定在底座上;
6.所述底座的顶部安装有抬升装置,该抬升装置用于驱动滑板的上下移动;
7.所述底座的一侧固定有支撑板,所述支撑板的靠近滑板的一侧转动连接有两根旋转轴;
8.两根旋转轴的外部分别套设有一个齿轮;
9.两根滑杆的外部分别设有一个固定座,两个连接座的一侧分别固定有一块固定块;两块固定块上分别固定有一个齿条,两齿条对称设置、且分别与两个齿轮相啮合;
10.两根旋转轴远离支撑板的一端分别固定有一个限位座一,两个限位座一远离旋转轴的一端分别设有一个连接座,所述连接座上开设有通孔;
11.两个限位座一上分别固定有一根螺柱,两根螺柱分别穿过两连接座上的通孔、且外部分别套设有与其适配的螺纹套筒一,两螺纹套筒一分别抵紧在两个连接座的一侧;
12.其中一个连接座的顶部固定有开合板一,另一个连接座的顶部固定有开合板二;所述开合板一和开合板二相背的一侧分别与两限位座一相背的一侧共面;

手机访问
销售经理:18390750306
销售经理:13266540580
微信

使用微信p扫一扫关注
在线客服
专业的客服团队,欢迎在线资讯
客服时间: 9:00 - 21:00